Труба стальная
Труба стальная
Схема расположения судовых помещений на сухогрузном судне
Схема расположения судовых помещений на сухогрузном судне
Трап сходня судовой
Трап сходня судовой
Схема западного фасада готического собора
Схема западного фасада готического собора
Набор судна бимс шпангоут стрингер

Фото Набор судна бимс шпангоут стрингер

Поперечная система набора корпуса судна без двойного дна
Поперечная система набора корпуса судна без двойного дна
Кнехт швартовый
Кнехт швартовый
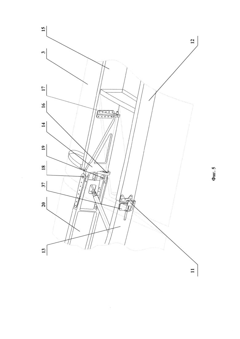
Стеллаж для кабельных барабанов
Стеллаж для кабельных барабанов
Бимс шпангоут
Бимс шпангоут
Якорная цепь
Якорная цепь
Штормтрап лоцманский
Штормтрап лоцманский
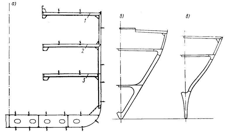
Аркбутаны и контрфорсы готического собора
Аркбутаны и контрфорсы готического собора
Клюз для якорной цепи
Клюз для якорной цепи
Заводка пластыря на пробоину судне
Заводка пластыря на пробоину судне
Корпус судна
Корпус судна
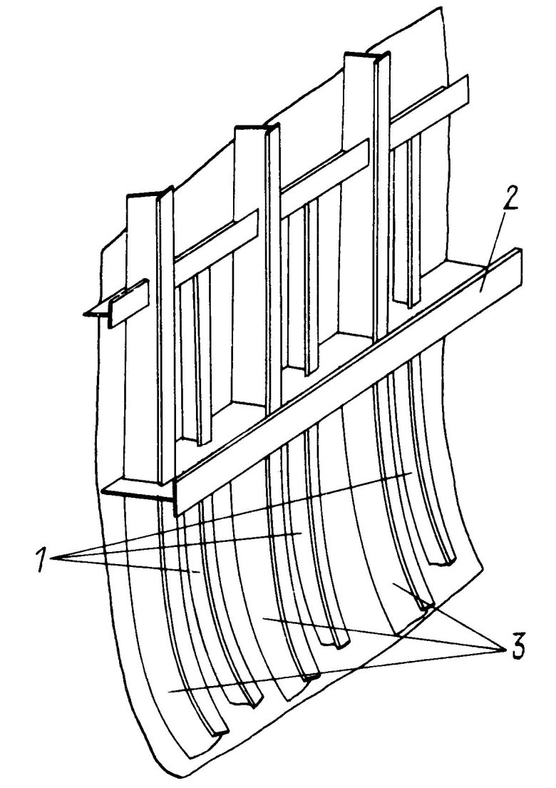
Продольный набор корпуса судна днищевой
Продольный набор корпуса судна днищевой
Мидель шпангоут корпуса судна
Мидель шпангоут корпуса судна
Планшир барки
Планшир барки
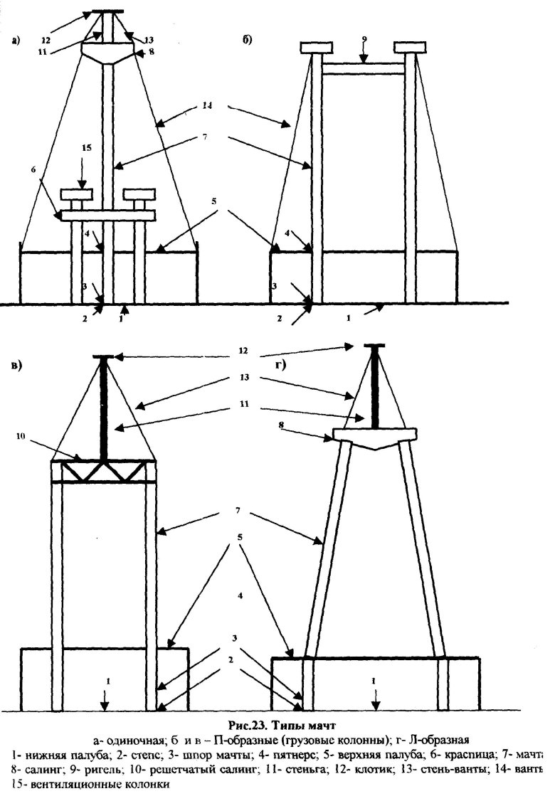
Конструкция мачты 100 метровый
Конструкция мачты 100 метровый
Типы конструкции плотин

Фото Типы конструкции плотин

Контрфорсы в строительстве подпорных стен
Контрфорсы в строительстве подпорных стен
Армирование контрфорсов
Армирование контрфорсов
Жвака-галс якорной цепи
Жвака-галс якорной цепи
Конструктивный мидель шпангоут сухогрузного судна
Конструктивный мидель шпангоут сухогрузного судна
Контрфорс подпорной стенки
Контрфорс подпорной стенки
Съемник рулевых тяг 400 мм
Съемник рулевых тяг 400 мм
Устройство корпуса судна
Устройство корпуса судна
Система днищевой перекрытия корпуса судна
Система днищевой перекрытия корпуса судна
Маркировка смычек якорной цепи
Маркировка смычек якорной цепи
Кронштейн сборочный чертеж
Кронштейн сборочный чертеж
Что такое контрфорс
Что такое контрфорс
Устройство корпуса судна
Устройство корпуса судна
Винтовая опора
Винтовая опора
Грузовая марка и марки углубления судна
Грузовая марка и марки углубления судна
Леерное ограждение на судне
Леерное ограждение на судне

Категория: ---
5 0
00

Комментарии (0)

Кликните на изображение чтобы обновить код, если он неразборчив