Мотоцикл бса двигатель
Мотоцикл бса двигатель
Мотор для велосипеда бензиновый комплект 80 куб
Мотор для велосипеда бензиновый комплект 80 куб
Триммер бензиновый champion
Триммер бензиновый champion
Rcgf 120cc
Rcgf 120cc
Двухцилиндровые двигатели

Фото Двухцилиндровые двигатели

Бензиновые двигатели
Бензиновые двигатели
Бензиновый двигатель для велосипеда
Бензиновый двигатель для велосипеда
50куб двигатель на велосипед
50куб двигатель на велосипед
Двухтактный двигатель мотоцикла
Двухтактный двигатель мотоцикла
Мотор триммера 4т
Мотор триммера 4т
Двухтактный двигатель в разрезе
Двухтактный двигатель в разрезе
Автомобильный двухтактный двигатель
Автомобильный двухтактный двигатель
Двигатель champion
Двигатель champion
Калильный двигатель
Калильный двигатель
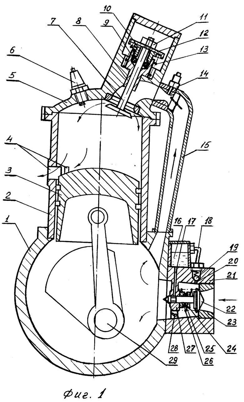
Двухтактный двигатель внутреннего сгорания
Двухтактный двигатель внутреннего сгорания
49cc 2-тактный двигатель
49cc 2-тактный двигатель
Поршневой двигатель
Поршневой двигатель
Авиамодельные калильные двигатели
Авиамодельные калильные двигатели
Бензиновый триммер champion
Бензиновый триммер champion
Двигатель мотоцикла в разрезе

Фото Двигатель мотоцикла в разрезе

Одноцилиндровый двухтактный двигатель
Одноцилиндровый двухтактный двигатель
Двухтактный двигатель внутреннего сгорания (двс)
Двухтактный двигатель внутреннего сгорания (двс)
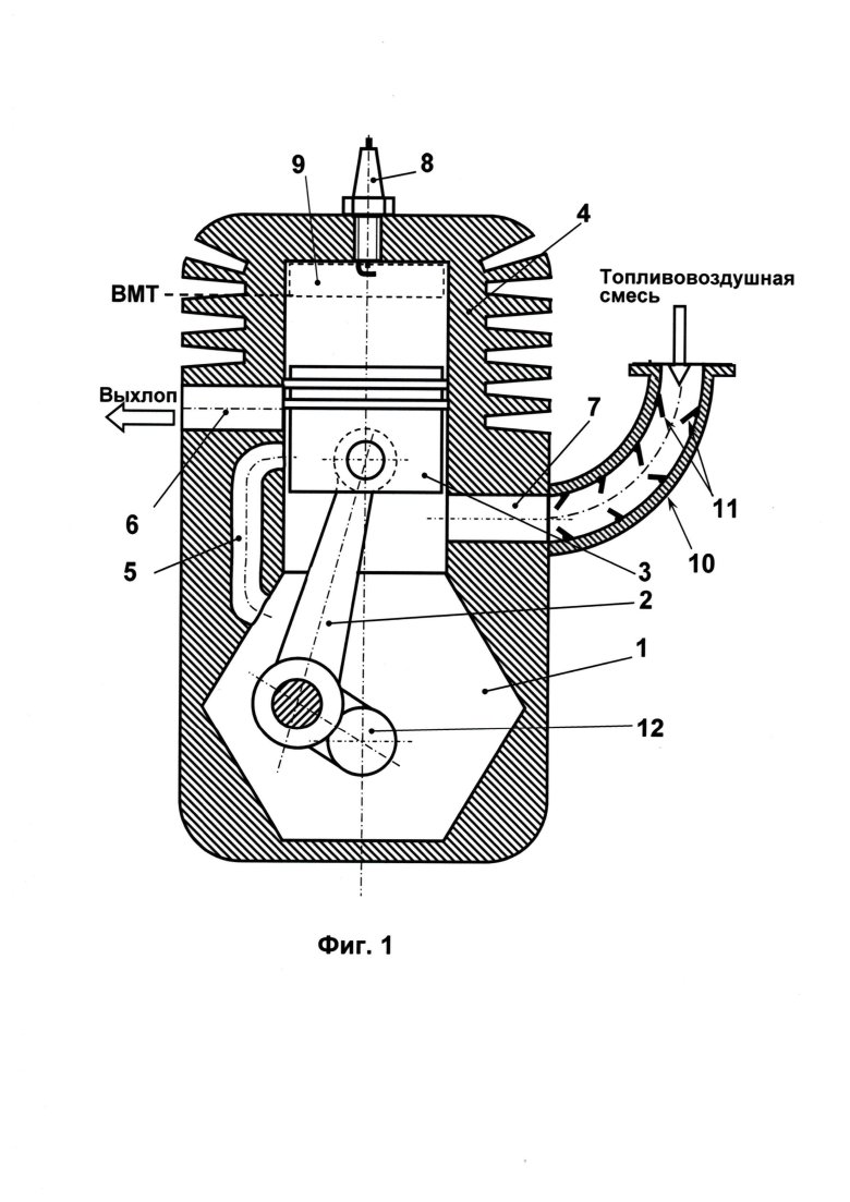
Принцип работы двухтактного двигателя
Принцип работы двухтактного двигателя
Двигатель мотоцикла
Двигатель мотоцикла
Принцип работы 2т двигателя
Принцип работы 2т двигателя
Мотор хонда 125сс
Мотор хонда 125сс
Схема двухтактного двигателя внутреннего сгорания
Схема двухтактного двигателя внутреннего сгорания
Двигатель на велосипед бензиновый
Двигатель на велосипед бензиновый
Двухтактный дизельный двигатель
Двухтактный дизельный двигатель
Двухтактный v12
Двухтактный v12
Рабочий цикл двухтактного двигателя
Рабочий цикл двухтактного двигателя
Двухтактный двигатель внутреннего сгорания
Двухтактный двигатель внутреннего сгорания
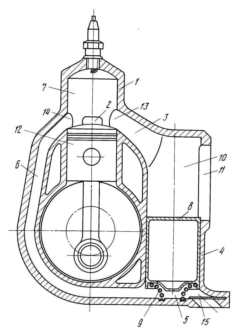
Двухтактный двигатель с кривошипно-камерной продувкой
Двухтактный двигатель с кривошипно-камерной продувкой
Двухтактный двигатель мотоцикла
Двухтактный двигатель мотоцикла
Бензиновый двигатель для радиоуправляемого
Бензиновый двигатель для радиоуправляемого

Категория: ---
2 0
00

Комментарии (0)

Кликните на изображение чтобы обновить код, если он неразборчив